常常在路上遇到無來由的交通壅塞?現在Google企圖導入建議行駛速度以消弭這類問題。不過…是你的話會聽從建議嗎?
塞車的原因百百種,有時可能只是肇因於某輛車踩了一腳煞車,引發後方駕駛一一減速做出反應。這股”煞車浪”如同震波一般向後擴散,最終引發成一場非必要的塞車…這就是Phantom traffic jam (幽靈堵車) 的起因。
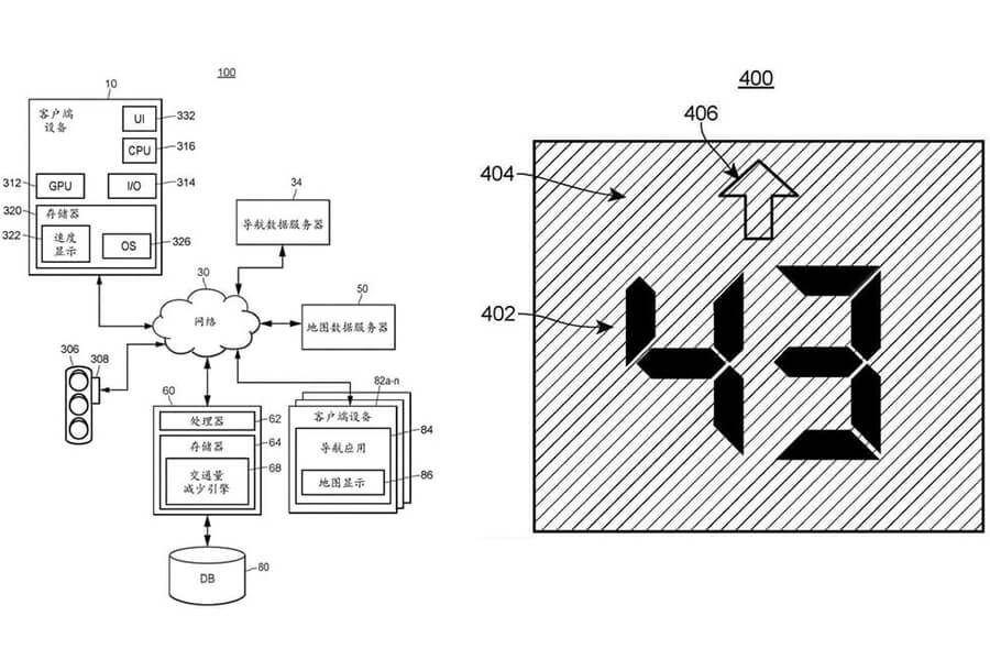
Google Maps正試圖消除這種不必要的道路現象,其中Android Auto 的創建者所想出的辦法是:為駕駛提供建議速度。Google希望透過計算前車速度、再透過車上的螢幕提供建議速度予其他駕駛,並提供加、減速甚至維持速度的提示訊息。
未來隨著時間與科技的推移,當自動駕駛汽車上路時,這套系統顯然仍對交通環境有所幫助。不過設想這套系統發生在台灣,不知道當系統偵測到前方的龜車時,會建議後方駕駛採取何種速度…同樣地,換作是你的車上具備這種功能,各位會樂於使用它嗎?無論如何,點這裡就能看到相關專利的相關資訊。


